I have forgotten
my Password

Or login with:

  • Facebookhttp://facebook.com/
  • Googlehttps://www.google.com/accounts/o8/id
  • Yahoohttps://me.yahoo.com

Clutches

Friction clutches with examples on single, multiple and conical plates.
+ View other versions (5)

Introduction

By definition a Clutch is a device by which two shafts or rotating members may be connected or disconnected either whilst at rest or in relative motion.

Examples of types of clutch are:
13108/img_0001_9.jpg
+

  • Automotive. These are usually single pressure plates and are found on cars trucks and tractors.
  • Centrifugal. Often found associated with small engines where it is required that the drive is connected once a predetermined engine speed is reached.
  • Slipping Clutches are usually a safety feature and are designed to slip at some preset torque so protecting against damage.
  • Dog Clutches are quite different to any of the above in that they do not rely on friction and it is generally necessary for the two shafts to be stationary when the clutch is either engaged or disengaged.

Plate And Disc Clutches

There are two types of friction clutch which operate on similar principles and are widely used. These are:

The term powertrain or powerplant refers to the group of components that generate power and deliver it to the road surface, water, or air.This includes the engine, transmission, driveshafts, differentials and the final drive.

A drive shaft (which includes the clutch) is a mechanical component for transmitting torque and rotation, usually used to connect other components of a drive train that cannot be connected directly because of distance or the need to allow for relative movement between them. The drive shaft also includes the clutch.

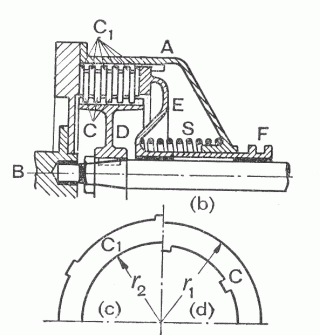
Single Plate Clutch

13108/img_0003_6.jpg
+

This is shown in the above diagram. The operation is as follows:
  • The flywheel is bolted to a flange on the drive shaft .
  • The plate is fixed to a boss which is free to slide axially along the driven shaft to which it is splined. It therefore rotates with shaft .
  • Two rings of special friction material are riveted or bonded to and or alternatively to plate .
  • The presser plate is bushed internally so that it revolves freely on the driven shaft . It is integral with the withdrawl sleeve .
  • A number of springs are arranged around the clutch ( Shown as ) so as to press the two friction surfaces together.

The Clutch operates by moving the withdrawl sleeve to the right. This compresses the Springs and removes the pressure between the friction surfaces. Hence it is possible to start or stop the driven shaft at will.

Multi Plate Clutch

The diagram shows a multiplate Clutch.

13108/img_0004_5.jpg
+

The operation is very similar to the single plate clutch but the area of frictional surfaces is greatly increased. It should be noted that as the discs are free to slide axially under the spring pressure, each pair of contact surfaces is subjected to the same full axial load.

Analysis

Diagram adapted for flat plate.

The frictional force on the circular element shown on the above diagram: where is the intensity of normal pressure between the surfaces.

By Moments about the axis, the total friction Torque is given by:

The total axial thrust is given by:

Equations (2) and (3) can be integrated once the variation of with radius is known. Two particular cases are considered here.

Uniform Pressure

and

Combining equations (4) and (5)

Uniform Wear

In this case = a constant and equation (3) can be integrated to give:

Similarly,

Eliminating from equation (8) by using equation (7)

Note that assumption of uniform wear is usually preferred since it results in a lower calculated torque for a given value of .

It is normal for each plate in a clutch to have two working surfaces (One on each side), and since they are arranged in series the axial load is transmitted equally through each plate. Consequently, if the number of plates on one shaft is then the torque transmitted as calculated from equations (6) or (9) must be multiplied by .

Example:
[imperial]
Example - Example 1
Problem
A car engine rated at 12 h.p. gives a maximum torque of 65 lb.ft. The clutch is of the single plate type and both sides of the plate are effective.

If the coefficient of friction is 0.3, the mean axial pressure is limited to 12 lb./sq.in. and the external radius of the friction surface is 1.25 times the internal radius, find the dimensions of the clutch plate and the total axial pressure which must be exerted by the springs.
Workings
Let and be the external and internal radii of the friction surfaces.

Then the total axial thrust,

Inserting values from the question,

Using equation (9) and remembering that the clutch plate is two sided.

Substituting for ,

The required Torque is 65 lb.ft. = 780 lb.in.

From which and
Solution
  • and
  • The total axial pressure is